安心の全国チェーン店 お見積もり無料!その場で現金買取!

お問い合わせはこちら

トップ画像

カテゴリ

人気記事

最新記事

検索

以前の記事

買取大吉» 店舗紹介» 羽曳野店» 羽曳野店 店長ブログ» 収入印紙も買取します。大吉羽曳野店です。

買取専門店 大吉  店長ブログ

>> 店舗ブログ一覧へ戻る

収入印紙も買取します。大吉羽曳野店です。 | 羽曳野店

2017年12月17日

羽曳野市・藤井寺市・松原市・富田林市・

美原区・太子町の皆様こんにちは!  🙂

大吉羽曳野店のスタッフKです  🙄

本日は「収入印紙」の

ご案内になります。

本日、お買取りした商品のご紹介は

弐拾円の 収入印紙 です。

IMG_1882 のコピー

使用しようにもしようがないと言う事で

お買取いたしました(笑)

収入印紙はご商売されている人には馴染みが

ありますが、一般的にはあまり用途のないもの

なんですが、精一杯のお値段をつけさせて

頂きました。

 

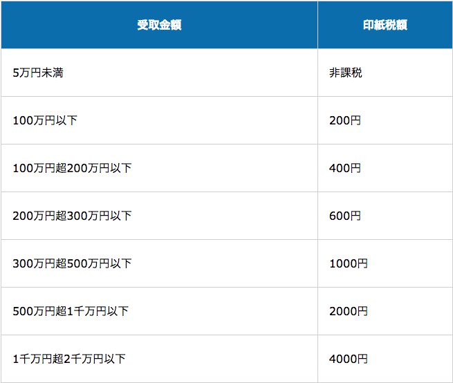
買取専門店 大吉羽曳野店では下記の額面印紙を

取り扱っております。 右側の印紙税額の事です。

10億円用の印紙ってどんなのでしょう?金箔で

出来てるんでしょうか? 気になった方は調べて

みるのも良いかも知れませんね。

スクリーンショット 2017-12-17 12.29.41

スクリーンショット 2017-12-17 12.32.34

 

何十年前にあった古い収入印紙

しっかりとお値段付けさせて頂きます。

買取専門店 大吉は全国250店舗以上の

スケールメリットを活かした高価買取が可能です。

ご使用にならない収入印紙があれば

大吉で賢く現金化されてみてはいかがですか。

チラシの中におトクなクーポンついてますし、

HPを見た!とおっしゃって頂けますとクーポンに

相当するサービスをご用意しております!

大吉羽曳野店は査定代金は無料ですので、

お気軽にご来店ください。

----------------------------------------------------------------------------

買取専門店 大吉 羽曳野店
〒583-0875 大阪府羽曳野市樫山255
★お店の地図はコチラをご覧ください⇒Googleマップ

フリーダイヤル:0120-500-633
e-mail: habikino@kaitori-daikichi.jp
TEL:072-931-9331
FAX:072-931-9332

----------------------------------------------------------------------------

このページの先頭へ

お見積り無料!満足の高価格買取!その場で現金買取!大吉にお売り下さい!

【買取専門店 大吉は、地域のコミュニティセンターを目指しています。】
大吉はどんな方にも気兼ねなく入っていただける店舗づくりを行っています。
目指すはカフェやその街の地域のコミュニティセンター的な存在になること。
目にまぶしい色や貴金属の派手な装飾は避け、青と白を基調にした落ち着いたデザインは、
はじめてお越しの方にもリラックスして頂けると好評です。